Weft straightener – straight roller tail straightener
Straight roller weft straighteners can be divided into two types: single roller type and multi-roller type. Multi-roller weft straighteners can be divided into two types: horizontal type and standing type.
1. Single-roller straight-roller weft straightener
Figure 2-24 shows a schematic diagram of a single-roller straight-roller weft straightener. It consists of three passive cloth guide rollers and a set of screw lifting devices. . The bearings of the front and rear rollers are fixed on the frame. Since the bearings at both ends of the middle roller are double-row radial spherical ball bearings, the bearing seats are connected to the screw nut. When the screw is rotated with the help of a handwheel, it can rotate within a certain range. Adjust the position of the axis so that the axis of the roller can shift up and down.

When discovered When the weft yarn of the fabric is straightly skewed to the left (looking at the fabric feed direction), turn the left screw to lower the left end of the middle roller (i.e. the weft straightening roller); or turn the right screw to raise the right end of the straightening roller. In this way, the lagging part of the weft yarn is relaxed or the leading part is tightened, so that the weft skew is corrected.
Carefully analyzing the changes in warp tension of the fabric throughout the width can further understand the physical process of weft adjustment. When the weft straightening roller is placed horizontally, that is, parallel to the weft direction of the fabric, the warp tension is evenly distributed throughout the fabric, and the relative running speed of each warp yarn is also consistent; when the weft straightening roller is skewed, such as the right end is higher than the left end , the warp tension of the fabric decreases from right to left, as shown in Figure 2-25. The friction resistance between the fabric and the roller surface also decreases in the same way. As a result, the running speed of the fabric warp increases from right to left, that is, the warp speed at the left end of the weft straightening roller is high and the speed at the right end is low. The right end of the weft yarn that intersects with the warp yarn will slow down and the left end will speed up. In this way, the left rear straight line latitude is corrected. Figure 2-26 is a single-roller straight-roller weft straightener modified with a fabric tensioner. It has a simple structure and good effect, but it can only adjust the straight line latitude and skew within 3°.

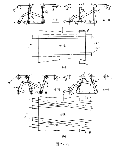
2. Four-roller weft straightener
The four-roller weft straightener shown in Figure 2-27 is a commonly used one in China. It is mainly composed of four weft straightening rollers and an adjusting mechanism. Each weft-setting roller is connected by double-row radial spherical ball bearings and two sets of connecting rods.
If the fabric is running normally, the weft-setting rollers are parallel to each other, and the left and right edges of the fabric have equal lengths between the passive guide rollers A and B, as shown in Figure 2-28(a). The warp tension is the same across the entire width of the fabric. The relative running speed of each warp yarn is equal, that is, there is no relative “lead” or “lag” phenomenon in each section of the running warp yarn.
When you find that the weft yarn is skewed to the left and back, turn the handwheel to rotate the screw rod and drive the connecting rods D1 and D2 to wind around O1 respectively , O′1 Click point B to rotate a certain angle. The left and right ends of the four straightening rollers change in direction as shown in Figure 2-28(b) and are no longer parallel. The traveling length of the fabric between roller A and roller B is shortened on the left and elongated on the right. The warp tension in the entire width of the running fabric decreases from the center line of the fabric to the left and increases to the right (assuming that the center line of the fabric coincides with the center line of the weft straightening roller), the friction force decreases to the left, causing the warp yarns in the fabric to The speed also changes to increase to the left and decrease to the right. In this way, the weft yarn with straight weft in the left rear gradually returns to its normal position during operation. Figure 2-28(c) shows the situation of the right rear linear weft oblique straightening.


Due to the increase in the number of weft straightening rollers, During adjustment, both ends of the weft-setting roller are relaxed in opposite directions at the same time, which greatly increases the gap in warp tension on both sides of the fabric. Therefore, the weft straightening effect of four-roller weft straightening is better than that of single-roller weft straightening. Usually, this kind of weft straightener can adjust the linear weft inclination of ±(100~150) mm.

In order to reduce the labor intensity of operating the weft straightening device, in recent years, electric motors have been used to drive the screw rods, and indicator signs have been installed to prevent the motor from turning over during operation.
When installing the weft straightener, attention should be paid to keeping the space between the rollers and the equipment in a straight state, and the parts in contact with the fabric should be ensured to be straight, clean and free of burrs. Pay attention to bearing lubrication to make it rotate sensitively; keep all rotating parts lubricated during use, and remove dust and fiber accumulation in time.
AAAGFHTRYKUYIU7OUP


