In clothing inspection, measuring and checking the size of each part of the clothing is a necessary step, and it is also a necessary step to determine whether the batch of clothing is qualified. important basis.

This issue will take you Let’s learn about the basic skill in clothing inspection – clothing size measurement.
Keywords of the week: Clothing inspection size measurement
Note:The standard is based on GB/T 31907-2015
01 Measurement tools and requirements

Measurement tools:Use a tape measure or ruler with a graduation value of 1mm
span>
Measurement requirements:
- Finished product size measurement generally uses lighting with an illumination of not less than 600lx. Northern sky lighting can also be used when conditions permit.
- The finished product should be flat and measured, and buttons (or zippers closed), skirt hooks, trouser hooks, etc. should be fastened. For finished products that cannot be flattened, other methods can be adopted, such as folding in half and measuring along the edges, etc. For finished products with pull-out size requirements, measurements should be made by stretching them to the maximum while ensuring that the seams are not damaged and the fabric is not deformed.
- When measuring, each dimension must be accurate to 1mm.
02 Measurement method

Top lengthtop length
- Highest from the front shoulder seam Point and spread vertically to the bottom edge, see Figure 1;
- Or measure vertically from the center of the back collar to the bottom edge, see Figure 2.

skirt lengthskirt length
- Skirt: Measure vertically from the top of the left waist along the side seam to the bottom of the skirt, see Figure 3 ;
- Dress: Measure vertically from the highest point of the front shoulder seam to the bottom of the skirt, see Figure 4; or from the back collar Flatten the center of the nest and measure vertically to the bottom edge of the skirt, see Figure 5.

trousers lengthtrousers length
- Measure vertically from the waistband opening along the side seam to the trouser leg opening, see Figure 6.

bust/chest circumferencebust/chest circumference
- Button it up (or close the zipper), lay it flat on the front and back, and run it horizontally along the bottom seam of the armhole Horizontal quantity (calculated in terms of surroundings), see Figure 7.

Waistwaist circumference
- Button up the buttons (or close the zipper), skirt hooks, and trouser hooks. Flatten the front and back body, and measure along the waist joint or the top of the waist (calculated based on the circumference), see Figure 8 to Figure 11.

Total shoulder widthshoulder width
- Button (or close zipper), lay the front and back body flat, and measure horizontally from the intersection of the shoulder and sleeve seams, see Figure 12.

Lingda collar width
- Pall Measure the upper edge of the stand-up collar horizontally, see Figure 13;
- Measure the lower edge of other collars, except special collars, see Figure 14.

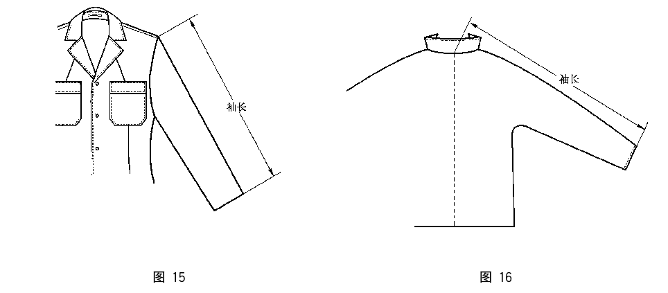
sleeve lengthsleeve length
- Measure the round sleeve from the highest point of the sleeve mountain to the middle of the cuff line, see Figure 15;
- Measure the raglan sleeve from the middle of the back collar to the middle of the cuff line, see Figure 16.

Hip circumferencehip circumference
- Button up the buttons (or close the zippers), skirt hooks, and trouser hooks. The middle horizontal measurement of hip width (calculated based on circumference), see Figure A.1, Figure A.5, Figure A.6, and Figure A.8.

length of side seam length of side seam
- Put the front and back body flat, measure along the side seam from the bottom of the armhole to the bottom edge, see picture A .1.
Hem circumference bottom hem circumference
- Button up the buttons (or close the zipper), skirt hooks, and trouser hooks, spread the front and back body flat, and measure along the bottom edge (calculated around the circumference), see Figure A .1, Figure A.5, Figure A.6.

back widthback width
- Flatten the sleeve seam horizontally along the narrowest part of the back of the garment, see Figure A.2, Figure A.7 .

Armhole depthdepth ofscye strong>
- Measure vertically from the center of the back collar to The lowest horizontal position of the armhole, see Figure A.2 and Figure A.7.
Belt circumferencewaistband circumference
- Spread the width (measured around) along the bottom edge of the belt. Elastic waistbands should be stretched to their maximum size when measured, see Figure A.3.

Inside eg lengthInside eg length
- Measure from the bottom of the crotch to the opening of the trouser leg, see Figure A.8.

Straight crotchcrotch depth
- Measure vertically from the top of the waist to the bottom of the crotch, see Figure A.8.
Foot widthbottom leg hem circumference
- Measure horizontally along the opening of the trouser leg, calculated based on the circumference, see Figure A.8.
Shoulder lengthshoulder length
- Measure from the highest point of the left front shoulder seam to the intersection of the shoulder and sleeve seams, see Figure A.9.
Deep neckline neck drop
- Measure the vertical distance between the center of the front collar and the center of the back collar, see Figure A.9.

Cuff widthcuff circumference
- Button the button (or close the zipper) and measure horizontally along the cuff line (calculated around), see Figure A.9.
Sleeve Fatbiceps circumference
- Measure the distance perpendicular to the center of the sleeve along the widest part of the sleeve, through the intersection of the sleeve bottom seam and the armhole seam, see Figure A.9.
Armhole length scye straight
- Measure from the intersection of the shoulder and sleeve seams to the bottom seam of the sleeves, see Figure A.9.
The above is the standard measurement method specified in GB/T 31907-2015 for the size of various parts of clothing.
(Calculated in surroundings). Elastic waistbands should be stretched to their maximum size when measured, see Figure A.3.

Inside eg lengthInside eg length
- Measure from the bottom of the crotch to the opening of the trouser leg, see Figure A.8.

Straight crotchcrotch depth
- Measure vertically from the top of the waist to the bottom of the crotch, see Figure A.8.
Foot widthbottom leg hem circumference
- Measure horizontally along the opening of the trouser leg, calculated based on the circumference, see Figure A.8.
Shoulder lengthshoulder length
- Measure from the highest point of the left front shoulder seam to the intersection of the shoulder and sleeve seams, see Figure A.9.
Deep neckline neck drop
- Measure the vertical distance between the center of the front collar and the center of the back collar, see Figure A.9.

Cuff widthcuff circumference
- Button the button (or close the zipper) and measure horizontally along the cuff line (calculated around), see Figure A.9.
Sleeve Fatbiceps circumference
- Measure the distance perpendicular to the center of the sleeve along the widest part of the sleeve, through the intersection of the sleeve bottom seam and the armhole seam, see Figure A.9.
Armhole length scye straight
- Measure from the intersection of the shoulder and sleeve seams to the bottom seam of the sleeves, see Figure A.9.
The above is the standard measurement method specified in GB/T 31907-2015 for the size of various parts of clothing.


